第2章 钣金基本操作2.1 放样
在进行钣金生产时,放样属于钣金构件下料以及后续再加工的前期准备工作,它是钣金加工里的一项基本操作,通俗来讲,放样就是于钣金坯料之上画出所加工构件的展开图形,主要涵盖这些内容,计算算出展开料,画出展开图形,这又被叫做划线或者号料,还有为保证所绘图形的准确性或者提高工作效率等目的去制作样板,对于一般的钣金工而言,放样操作的主要任务是完成简单构件的展开,制作简单的划线样板,以此来完成钣金构件的划线。因为制作样板是用来为画出展开图提供服务的,于是在某种程度而言,放样操作的全部工作都能够被理解成是划线。
2.1.1 放样的工具
钣金放样含有平面划线与立体划线这两种,因钣金构件结构具备复杂性,致使其相较于常见机械加工件的划线而言更为复杂些,虽说和其他种类的划线加工一样,钣金划线同样是借助划线工具予以完成的。
1.常用的划线工具名称及用途
常用的划线工具名称及用途见表2-1。
表2-1 常用的划线工具名称及用途
(续)

(续)

2.常用划线工具的使用要点
(1)1. 划线平板,为划线工作之基准面,其平面度对划线精度影响直接。2. 使用划线平板时,需注意以下方面:3. 要尽量使划线平板各处均匀得以使用,防止局部出现磨损。4. 需经常保持平板之清洁,以防铁屑与砂粒等种类杂质将平板磨坏。5. 在划线平板之上使用的工具,要轻拿轻放,避免撞击其表面,更不可用锤子敲打外表。6. 用毕之后,应擦拭干净,涂抹上防锈油。
(2)划针,它是用于在工件之上进行划线操作的基本工具,最常被使用的划针呈现为直线形态,对于那些直线划针无法触及到的地方,就会用到弯头划针来进行操作。在用划针开展划线时,针尖要紧紧靠着钢直尺,稳定地进行拖动,并且要向着钢直尺的外部倾斜20°至25°,在划线时,划针不应当左右摇摆,要尽可能一次就划成(可参照图2-1),要是重复去划同一条线,那么线条会变粗,或者因为不重合致使模糊不清楚,这会对划线的质量构成影响。

图2-1 用划针划线的方法
(3)有一种工具名为划针盘,它是可用于开展立体划线、找正工件位置的物品(见图2-2)。划针盘上划针的直头端具备用于划线的功能,其弯头端则用于找正工件的划线位置。当使用划针盘时,划针伸出的部分要尽可能短;在拖动底座进行划线操作时,需让它与平板平面紧密贴合;在进行划线时,划针盘朝着划线移动方向倾斜30°至60°。

图2-2 用划针盘划线的方法
(4)单脚划规,它是用来确定轴以及孔的中心位置的工具,此工具常称之为单脚划规。另外,图2-3所展示的内容均为单脚划规的使用方法。

图2-3 单脚划规的应用
a)定轴心 b)定孔中心 c)划直线
(5)将用于冲眼的样冲使用时,首先要让样冲朝着外面倾斜,使得冲尖对准划线的中心或者所划孔的中心,随即将样冲保持直立状态,接着运用锤子去击打样冲的顶端(可参照图2-4)。

图2-4 样冲的使用
1—向外倾斜对准位置 2—冲子垂直打眼
(6)千斤顶这一工具,通常会供大型毛坯,或者是形状不规则的工件,在进行找正操作的时候使用,还会在进行划线操作的时候使用,它能够起到支承的作用,并且能够起到调节的作用。使用千斤顶时,应注意这些:要洗净千斤顶底面,支承点别选在工件倾斜或易滑移处,得安放平稳;若千斤顶要顶在圆弧面,在所顶位置打个大样冲眼,让千斤顶尖顶在样冲眼内,防滑动它是。能用3个千斤顶同时共用,这时,3个千斤顶的支承点离工件重心尽量远,3个支承点组成的三角形面积尽量大,一般工件较重一端放二只,较轻一端放一只它是;工件要竖起来划线,3个千斤顶顶在窄长平面,得借助桥式起重机,系一保险绳吊住工件起保险,一般绳子不张紧,留千斤顶调节工件高低余地,万一工件倒下,绳子起保护它是;若工件重或3只千斤顶支承面积小,可在工件下放几个硬质木块,为不改变3个支承千斤顶支承平面,木块与工件有微小距离,主要防不测时用来承重它是。
3.样板
对于形状复杂的构件,为了划线能准确,为了划线方便快捷,因后续有质量检查的需要,因后续有控制的需要,常常要用样板来划线,还要用样板检查弯曲件的角度,还要用样板检查弯曲件的曲率,还要用样板检查压制件的截面形状等是否符合图样要求,还要看易变形的冷作件在成形后进行矫形的效果等,以此来指导进一步矫形达到图样的要求。
不同用途致使样板类型各异,常见的有下料样板、成形样板以及检验样板等。一般来讲,在生产加工量较大、单件数量较多时会使用样板。通常是采用0.3至1mm的薄钢板、像镀锌板这种材质以及可锻铸铁依1∶1的比例制作而成。制成后的样板必须注明图号、名称、件数、库存编号等。还要经过专业检查人员检查,核对无误后才可投入使用,可以保证放样准确,利于样板管理。表2-2列举出几种常用样板的名称和用途。
表2-2 常用样板的名称和用途

因为样板属于生产流程里用于划线、检验工件的专门量具,故而样板需具备一定刚度、尺寸稳定以及不容易变形的特性。为了让操作者于生产期间能够方便使用,大型样板的重量应当轻巧,使用起来要便利。

为了制作样板,起初应当查看图样所展示尺寸的标注位置。通常来讲,图样里所标注的尺寸应当是工件需要确保的尺寸,所以一般是选取标注尺寸当作样板尺寸。然而,为了测量更为便利,在其他影响因素相对稳定的情形下,也能够选取其间接(或者推算)尺寸作为样板的尺寸,就像圆弧成形样板是用于检验弯曲件的曲率的,对于较大的圆弧成形件,为了便于测量,通常制作的成形卡样板是以弧板的内壁尺寸作为标准的。
样板制作时的公差,通常选取加工构件公差的三分之一到四分之一,一般情况下,其不应小于表二杠三所展示的尺寸公差。
表2-3 样板制作的尺寸公差 (单位:mm)

2.1.2 基本图形的作法
在进行制作样板操作时,要绘制一些基本几何图形;在画加工零件的各种图形(号料)等操作时,也要绘制一些基本几何图形。熟练掌握基本几何图形的作法,是钣金加工的基础。这是由于任何复杂的物体,都是由圆柱、圆锥、棱锥、球等基本几何图形所组成的。并且这些几何体,又都是由直线、圆弧、圆以及封闭的或开口的曲线等线条所构成的。
1.直线和角的画法
各类直线和角的画法见表2-4。
表2-4 直线和角的画法

(续)

(续)

(续)

2.圆等分的作法
作正多边形的基础乃是圆的等分 ,在钣金加工里 ,用来确定展开料的位置 ,或者钻孔点位置等 ,这是常用方法 ,其作图方法见表2-5。
表2-5 圆等分的作图方法

圆的等分也可以用计算法求得,其计算公式是:
式中 s——等分圆周的弦长;
R——圆的半径;
n——圆的等分数目。
对于采用计算法进行圆的等分时,首先要通过上式去计算出用于等分圆周的弦长s的值,之后借助分规直接要在圆上对各合适点予以截取,最后直接连接各点就行了。要是采用计算法将圆6等分,那么可以先计算出用于等分圆周的弦长。
接着运用圆规,首先以圆上面任一位置的点当成圆心,把 s定作等于R的长度当成半径,接着逐个依据顺序去画弧,这样就能够把圆分成6等份,随后逐个按照顺序连接圆周上面各个点,于是就形成了正六边形,就如同图2-5所展示的那样。

图2-5 圆的六等分
3.正多边形的作法
几何作图里广泛应用着正多边形的画法,在圆内作正多边形的办法,常被用于等分圆周,其作图方法列于表2-6。
表2-6 已知边长,作正多边形的方法

4.圆弧、椭圆的作法

圆弧是构成各种图形的基础,圆弧的作法见表2-7。
表2-7 圆弧的作图方法

钣金件里常见的图形之中有椭圆,它的作法存在着许多,椭圆、心形圆以及蛋形圆的常用作法被罗列见表2-8。
表2-8 椭圆、心形圆和蛋形圆的作法

5.各种圆弧连接的作法
较复杂形状连接中,一些较为复杂形状的连接需要用到各种圆弧连接作为基础,而各种圆弧连接的具体作法参见表2-9。
表2-9 各种圆弧连接的作法

(续)

(续)

2.1.3 放样的操作技巧及注意事项
进行放样操作,通常是在专门的放样工作台上开展的。在将要进行放样之前,需要先去熟悉相关的图样,要仔细核对图样各个部分的尺寸,查看其是否是正确的,要是没有任何问题,这样才能够去进行划线操作。
1.放样的操作要求
(1)按图样进行放样的时候,存在一项基本规则,那就是得从基准开始,在设计图样之上,存在着用以确定其他点、线、面位置的基准,这种基准叫设计基准,而放样之际,通常也都是把图样的设计基准选作放样基准。
按照图2 – 6所示,其呈现了依据图样进行划线的相应步骤:第一步,要对构成图样的线条及其中心线加以分析,中心线里,先划出对称线,之后再去划出其他定位线,这一步可见图2 – 6a;第二步,接着要划出圆弧以及圆周线之类的基本线条,此步骤可见图2 – 6b;再下一步,运用直线或者斜线以及其他特殊线条来封闭图形,如此便可得出所需图样,这一过程可见图2 – 6c;最后,依照图样来检查划线。

图2-6 按图划线的步骤
a)划圆与圆弧定位线 b)划圆与圆弧线 c)划直线段
(2)在进行零件排样、放样操作时,需要对零件的排样方法予以合理挑选,要将原材料的利用率提升至最大限度。为达此目的,要对排样形式加以优化,并且要把各种含有相同材料、相同料厚的零件集中起来进行套排,以此来减少废料,尽可能让材料的利用率实现最大化。
(3)对于要求较高、批量较大的一些零件而言,若要正确使用样板来进行划线,那在划线样板的加工方面,可依据企业的生产设备状况,采用数控激光切割、转塔冲床冲裁、线切割机切割等方式,也能够采用先由手工剪切,接着进行锉削修整或者铣切加工的办法来做。尺寸较大的样板,因为样板极易出现变形,进而影响放样的精度,并且使用起来并不便利。为确保样板使用的便利性以及使用精度,可于样板平面上(不超出外形),通过铆接或者螺钉连接适当的立筋(比如小角钢),并在适当的位置加上拉手。但要注意,加立筋和拉手不允许用焊接方法连接,防止样板变形。
2.典型构件的放样操作技巧
仅仅是在平面之上进行划线的板材放样,所使用的放样样板大多是平板结构,相对来讲是较为简单的。然而型材因为具备一定的截面形状,所以放样是较为复杂的,需要用到一些专用的工具,还要采用一些具体的操作方法。
(1)不同型钢,截面形状各异,所以其放样方法,存在不同之处,型钢放样操作方法,亦如此。
1)对于型钢进行放样,且该型钢端口是整齐的那种情况,在确定长度尺寸时,通常会采用样杆或者卷尺来进行,之后呢,还要利用过线板去划出端线,像图2-7a所展示的那样标点符号。

图2-7 型钢放样(号料)的方法
对于那种带有中间切口或者异形端口的型钢放样,首先呢,得借助样杆或者卷尺去确定切口的位置,之后呢,要凭借切口处形状样板来划出切口线,就如同图2-7b所展示的那样。
2)当工件呈现出各式各样的端部形状之际,要是期望放样精准且迅速,那么在放样之前,就得准备好与之对应的端部形状划线样板,像图2-8所展示的那样。

图2-8 各种型钢的划线样板实例
a)槽钢插头的样板,b),槽钢平头的样板,c),角钢平头的样板,d),角钢割角的样板,e),角钢割豁的样板。

样板之上所开设的方形孔洞,以及卷起来的翻边,这是为了在投入使用之际手持能够更加便利,从而有利于进行划线操作。
放样型钢上孔的位置时,通常先画出边心线,接着利用样杆确定长度方向上孔的位置,随后借助过线板在型钢上画出孔的纵向中心线,之后再依据样杆在中心线上画出孔的位置。
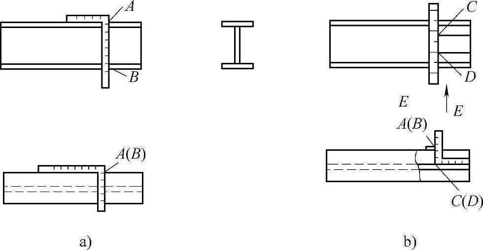
3)展示出来的图2-9呈现的是工字钢经由45°斜接之际的划线方式,其中,图2-9a所展示的是运用直角尺引出两翼板上沿的正断面点B、B′以及切点A;而图2-9b所表示的是划斜接线,此操作是把直尺放置于翼板内沿的A、B两点上头;图2-9c所体现的是借助靠背直角尺朝向腹板斜线点C、D引出,连接CD就成为了腹板切割线;图2-9d所显示的是采用直角尺去划翼板切割线的办法。这种方法同样适用于H钢划斜接线。

图2-9 工字钢采用45°斜接的划线方法
4)图2 – 10所展现的是H钢划正断面线的方法,其中,图2 – 10a呈现的是借助直角尺引出两翼板上沿的正断面点A、B ,图2 – 10b呈现的是运用直尺和靠背直角尺相配合从翼板上的A、B两点引至内腔的C、D两点,连接CD便成为内腔的正断面线,这种方法同样适用于工字钢划正断面线。

图2-10 H钢正断面的划线方法
(2)对于某些在加工前没办法准确下料的零件情况下的二次放样,像某些热成形零件,还有有装配余量要求的管状零件等等,常常在一次放样(号料)的时候留出充足的余量,等到加工以后或者装配的时候再去进行二次放样(号料)。
二次号料之前,结构形状得矫正精准无误,要把结构存在的变形消除掉,定位精确之后,才有条件开展二次放样。
1)中小型零件可直接在平台上定位划线,如图2-11所示。

图2-11 小型零件二次号料平台
2)在现场钢板处,或者在装配台上,针对大型结构件,运用常规划线工具,并且配合经纬仪等,来开展二次放样(号料),呈现出如图2-12所示的情况。

图2-12 多瓣球形封头二次号料装配
3)在某些装配定位线之上,有的位于结构里的某些孔口,得要在零件加工完毕之后,或者是在装配进程当中,借助二次放样(也叫号料)来予以确定,就如同图2-13所展示的那样。其中,图2-13a呈现的是挡板定位线,图2-13b呈现的是销轴定位线。

图2-13 装配定位线的二次放样
4)存在一种封头的二次划线办法,它由图2-14展示。通常而言,已经成形的封头需要展开二次划线操作,之后还要进行切割,目的在于把工艺变形余量给去除掉,力求达成封头口部处于平齐状态的效果为作用。

图2-14 封头的二次划线方法
图2-14a所展示的,是借助直角尺找寻切割线位置的方式,以此确定封头高度。封头划线的高度涵盖封头的曲线部位高度、直边高度以及壁厚。对封头的划线位置予以适度调整,运用直角尺、塞尺这类工具进行测量,确保封头周围的直边(确定封头直边的办法是观察封头成形时的拉深痕,拉深痕以上的部分就是封头直边)跟直角尺的间隙保持一致,接着运用高度尺、游标高度尺、划针盘等工具划出封头的高度,并用样冲冲点。然后,用较长刻度的钢直尺将这些高度点连接起来即可。
有一种采用钢卷尺确定封头中心的方法,这方法如图2-14b所示那般呈现。要把钢卷尺与封头毫无间隙的安置在封头内部里,并让尺条的投影呈现成一条直线,于尺条所量取的长度中点的地方作出标记,之后再进行旋转90°的操作,重复以上的这些操作,一直到标记相互重合才停止。这种方法同样适用于封头外侧中点的确定,是这样的情况。
图2 – 14c所展示的,是运用钢卷尺来确定封头直径的办法。在封头口部的内侧,首先确定一个点,之后以这个点作为基准,借着尺条的移动,去找出封头内壁的最大直径尺寸,并且做好标记。采用同样的方式,找出所需的其他各个点。
3.放样的操作注意事项
在放样的操作过程中,为了保证划线质量,还需注意以下事项:
1)垂直线得凭借作图法去画出,不可以用量角器绘制,也不可以用直角尺绘制,甚至绝不允许用目测法去进行划线操作。
2)要是用圆规于钢板之上划圆,或者划圆弧,又或者是量取尺寸之时,为了避免圆规脚尖出现滑动的情况,那就一定要先去冲出样冲眼。
3)开展放样这个操作的时候,得先去核查看钢材的牌号,还有那个规格,是不是跟图样所提出的要求相一致,在针对重要产品所使用到的钢材方面,应该要有合格靠谱的检验书,钢材的化学成分以及力学性能,都必须要符合图样所规定下来的要求才行。
4)在进行划线操作之前,钢材的表面应当是平整的状态,要是钢材表面呈现出波浪形状,或者其不平的程度过大的时候,就应该提前对其进行矫正处理,不然的话,就会对划线的准确度产生影响。
5)钢材的表面,需保持干净清洁,然后要检查其表面,查看是否存在夹灰的情况,还要查看有无麻点这种状况,另外也要检查是否有着裂纹这类缺陷。
6)对线工具,像卷尺、角尺、三角板这类,需定期进行检验校正,尽量选用具备高效率的工具或者夹具,从而提升效率。
7)划线的精准度,由诸多方面决定。这其中包括作图方式的正确与否,工具的质量状况,工作所处的条件如何,作图所具备的技巧高低,个人拥有的经验多寡,以及视觉的敏锐程度怎样等因素。与此同时,还得将它的工艺因素纳入考量范畴。比如说,在工件进行加工成形的时候,所受到的气割、卷圆、热加工等方面的影响;在进行装配之际,板料边缘修正以及间隙规模大小,装配所存在的公差,焊接以及火焰矫正带来的收缩影响等等。所以,放样划线还应当与后续的加工工艺相互结合起来。
8)非铁金属板材的表面,能够用铅笔或者红铅笔来进行划线,千万要忌讳使用划针去划线,不然的话,被划伤的金属表面呀,很容易致使成为裂纹源。钢材表面在进行划线时呢,弯形区内与素线平行的那种划线,是禁止使用划针的,只有在外形线上才可以使用划针。









![2025年中国钣金加工行业现状、产业链结构及发展全景研判:智能化是行业未来发展趋势[图]-铆焊老刘铆工焊工笔记](https://83ch.com/wp-content/uploads/2026/02/1771729218647_0.png)


