011. 适用范围和施工准备
1.1 【 适用范围 】
工业与民用建筑当中的钢筋混凝土结构适用此本作业指导书,其包含不同规格以及级别的钢筋电弧焊接,电弧焊借助弧焊机的作用,致使焊条跟焊件之间产生高温,进而熔化焊条与焊件的金属,冷却凝固之后形成一条连续的焊缝。
1.2 【 机械设备和材料准备 】
挑出适配的弧焊机,备好达标的钢筋与焊条,保障所有设备、工具于操作前状况尚佳。电弧焊的关键设备是弧焊机,其分成交流和直流两种类型。交流弧焊机经常见的型号有BX – 120 – 1、BX – 300 – 2、BX – 500 – 2以及BX – 1000这些。至于直流弧焊机,它常用的型号存在AX – 165、AX – 300 – 1、AX – 320、AX – 三千以及AX – 五百等。
钢筋,要确保各类规格以及级别的钢筋,皆带有出厂合格证,且在进场之后,经过关于物理性能的严格检验。对于进口钢材,还得额外进行化学性能的检验。唯有经过合格检验的钢筋,才能够被用于施工。
对于钢结构工程相关规定所涉及的焊条选用,要妥善分类、分牌号保存于通风条件甚佳并且相对干燥的颇具良好环境的仓库之中。针对关键工程所使用的焊条,其温度与湿度需维持在适宜状况,一般而言,温度把控在10至15°C的区间,相对湿度处于小于5%的范围之列。在正式开展焊接操作之前,焊条要放置于温度为20至25°C的烘箱里面进行烘干处置。
![图片[1]-钢筋电弧焊施工全面指南:从准备到质量标准-铆焊老刘铆工焊工笔记](/wp-content/uploads/2026/03/1772463388405_0.webp)
1.3 【 作业条件 】
先要明确,焊工得具备专业资格,设备得符合规范要求,以此来保障安全与质量。其一,必须让焊工经过专业培训与考核,进而保证他们持有有效的上岗证书。其二,弧焊机这类机具设备要维持完好状态,并且,焊机得按规定正确接通电源,还得确保电源满足施焊的各项要求。
022. 操作工艺
2.1 【 帮条焊工艺 】
当用于连接那些不同级别的钢筋,在没办法进行双面焊的状况下要选择单面焊,并且还要增加帮条的长度。帮条焊适用于连接Ⅰ级、Ⅱ级、Ⅲ级钢筋。在制作帮条之际,要选用跟主筋相同级别以及直径的钢筋,并且得遵循下面这些操作要点:利用四点定位焊把主筋与帮条初步固定好,固定的位置距离端部大概20mm,并且要保证主筋间隙保持在2至5mm。开始进行施焊的时候,要从帮条内侧起弧,收弧的时候要确保弧坑被填满,并且朝着帮条一侧平稳地拉出灭弧。建议尽可能实施水平焊接。要是需要进行多层焊接的话,那么第一层焊接时电流是能够稍微调节得大一些的,这样做是为了能够增加熔化的深度。每焊接完一层之后呀,一定要去清除焊渣。当没办法必须要进行立焊的时候呢,应该适当地把焊接电流减少,减少的幅度是在10%到15%之间。
![图片[2]-钢筋电弧焊施工全面指南:从准备到质量标准-铆焊老刘铆工焊工笔记](/wp-content/uploads/2026/03/1772463388405_1.webp)
2.2 【 搭接焊工艺 】
为使钢筋轴线重合,要透过执行预弯以及安装的操作来予保障,此操作流程跟帮条焊相仿。在没法实现双面焊接这个状况下,能够选用单面焊接当作替换办法用时需要记住,这个时候的搭接长度相较于双面焊得使值增加成双倍这样子,来保证焊接质量。搭接焊主要是用给Ⅰ、Ⅱ、Ⅲ级钢筋的连接方面,它的关键步骤涵盖对钢筋搭接处做预弯以及正确地进行安装,为保障两根钢筋的轴线全然重合。除此以外,它的操作流程和帮条焊工艺大体上是一样的。
2.3 【 钢筋坡口对接 】
平焊与立焊涵盖其中,借由把控坡口角度以及间隙,来保证焊缝通顺且不存在缺陷。钢筋坡口对接含有坡口平焊对接以及坡口立焊对接。于坡口平焊里,建议采用V型坡口,此坡口角度要控制于55°至65°的范畴当中。在坡口面加工之际,需保证其平顺程度,与此同时要将污物与氧化铁锈彻底清除掉。为开展定位焊,可借助垫板,该垫板长度需控制在40至60毫米之间,宽度是钢筋直径加上10毫米。在进行坡口平焊时,根部间隙应设为4至6毫米。
下一步开展钢筋坡口立焊对焊,当开展钢筋V型坡口立焊之际,要保证坡口角度恰当,大概是35°~55°的范围,当中下筋的角度把控在0°~10°,而上筋处于35°~45°。进行立焊对接垫板的装配加定位焊,其操作跟坡口平焊相近,不过要留意根部间隙的调整,通常控制在3~5mm。
![图片[3]-钢筋电弧焊施工全面指南:从准备到质量标准-铆焊老刘铆工焊工笔记](/wp-content/uploads/2026/03/1772463388405_2.webp)
2.4 【 钢筋熔槽帮条焊 】
采用垫模角钢来保障对接稳定性,调节焊接参数去维系质量。熔槽帮条焊是一种适用于直径大于等于25mm钢筋现场安装焊接的方法。操作之时,要义是把两钢筋水平摆放,且运用一角钢当作垫模。其工艺关键要点主要涵盖:保证焊接进程里的稳定性与准确性,以及留意把控焊接参数和焊接质量。垫模角钢的边长要控制在40至60mm幅度内,其长度却设定为80mm至100mm。
![图片[4]-钢筋电弧焊施工全面指南:从准备到质量标准-铆焊老刘铆工焊工笔记](/wp-content/uploads/2026/03/1772463388405_3.webp)
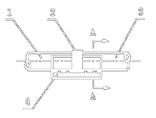
2.5 【 预埋件接头和钢筋与钢板搭接 】
电弧焊接出来的接头呈现出多种多样的形式,按照具体的要求来制定焊接所需要的长度以及宽度。预埋件T型接头所采用的电弧焊方式能够划分成贴角焊以及穿孔塞焊这两种,具体的操作方式能够参照相应的图形。与此同时,钢筋跟钢板的搭接接头形式能够参见图5-30。在这个过程当中,Ⅰ级钢筋的搭接长度l应当不小于4倍的钢筋直径d,而Ⅱ级钢筋的搭接长度l则应当不小于5倍的钢筋直径d。
![图片[5]-钢筋电弧焊施工全面指南:从准备到质量标准-铆焊老刘铆工焊工笔记](/wp-content/uploads/2026/03/1772463388405_4.webp)
033. 质量标准
3.1 【 保证项目和外观检验 】
核对材质,核对焊条合格证书,确保不存在明显缺陷情况,保证强度达到要求标准。在进行焊接之前,一定要仔细核对钢筋的材质,核对钢筋的规格,核对焊条的类型,要确保这些都符合钢筋工程的设计施工规范要求。与此同时,焊工在上岗进行操作之前,必须持有相应等级的焊工证书才行。正式焊接之前,需要先用相同材质,采用相同焊接条件,依据相同参数制作两个抗拉试件开展预试验。措施完备就绪之后,所有焊接接头都需要经过外观检验,要确保焊缝表面流畅,确保没有明显缺陷,比如咬边、凹陷、焊瘤、夹渣以及气孔等这些情况。
044. 施工中的关键要点
4.1 【 预防常见施工问题 】
去把控焊缝表面质量,恰当挑选焊条与电流。于焊接进程当中,得时刻留意清理焊渣,要保证焊缝表面展现出光滑和平整模样。而同时呢,要加强焊缝的平缓过渡,还得充分把弧坑填满,用来防止可能会出现的施工质量方面问题。除此之外,务必要保证帮条尺寸、坡口角度、钢筋端头间隙和钢筋轴线等各个参数都契合相关规范。
4.2 【 主要安全技术措施和产品保护 】
确保焊机与地连接、环境具备安全条件,防止出现变形以及损伤情况。在进行焊接施工期间,搭建施工的场所不准采用易燃性质的材料,在从事高空作业之时一定要佩带安全带此外,焊工于操作进程当中必须配备适宜的防护用品,以此来确保安全。在实施焊接的过程里,半成品理应避免运用直接浇水的方式进行冷却。
钢筋电弧焊的施工,涉及到许许多多的细节,经由严谨依照上述提及的步骤,以及相应的标准,还有安全措施,能够切实有效地保障工程的质量,以及施工的安全。













