焊接结构,是经焊接办法,将诸多部件、元件以及零件连接而成的,所以,焊接接头性能质量的优劣,直接关联着焊接结构的性能以及安全性、可靠性。多年以来,焊接工程领域针对焊接接头展开了广泛的试验研究,这对提升焊接结构的性能与可靠性、拓展焊接结构的应用范畴,发挥了重大作用。
一、焊接接头
(1)焊接接头的基本类型
存在主要的焊接方法,像熔焊、压焊以及钎焊,借助这些方法能够制成焊接结构,通过这些焊接方法去连接金属结构,进而形成不可拆的连接接头,也就是焊接接头,分别会形成熔焊接头、压焊接头和钎焊接头,借由这些接头构成焊接结构,然而应用最为广泛的便是熔焊,在这里重点对熔焊接头展开介绍。
1)将金属进行熔焊所形成的接头,它是由焊缝金属、熔合线、体现热影响的区域以及母材共同构成的。且其中的焊缝金属,是填充材料与部分母材在被熔化之后逐渐凝固下来从而形成的一种铸造组织。熔焊接头各个构成部分的组织并非均匀一致,在性能方面同样存在着差异呀。这是因为上述四个区域的化学成分不一样,金相组织也不同,再者接头处常常改变了构件原本的截面以及形状,出现了不连续的状况,甚至存在缺陷,进而形成不同程度的应力集中,另外还有焊接残余应力与变形,较大的刚度啥的都对接头的性能产生了影响,最终致使接头不光力学性能不均匀,而且物理化学性能也存有差异。为确保焊接结构能够可靠地运行,期望焊接接头具备与母材一样的力学性能,在某些情形下还期望获取相同的物理和化学性能,像导电、导磁、抗腐蚀性能以及相同的光泽和颜色等。
就焊缝金属来看,常常会形成柱状晶铸造组织,通常情况下比母材的强度要高而且硬,然而韧性却有所下降。对于高强度钢而言,采取适用的工艺举措,像预热、缓冷或者采用恰当的热输入,同样能够获取符合要求性能的焊缝金属。一般来讲,焊缝金属强度相较于母材强度可能会高或者低,前者被称作高匹配,后者被称作低匹配。
焊接时,热影响区宽度不大,缘于焊接温度场梯度大,各点热循环差异显著,致使组织与性能各异,此差别与被焊金属组织成分、焊接热输入相关。尤其需指出,经焊接热循环后出现的“动应变时效”(热应变时效)会使接头性能变差。钢材、铝材等经预应变后,会产生变脆的“时效”现象,该预应变及时效均在低温(室温)下出现,一般称作“静应变时效”。是这样的,焊接热影响区在经历焊接热循环过后,会产生热应变,并且呢,焊接时的高温加快了时效脆化这种情况,所以说,“动应变时效”大幅度地使接头的性能降低了,这一点一定要留意防止。
熔焊的焊缝主要包含对接焊缝以及角焊缝,由这两种焊缝作为主体而构成的焊接接头,有对接接头、角接接头、T形(十字)接头、搭接接头还有塞焊接头等等,依据GB/T 985 – 1988《气焊、焊条电弧焊及气体保护焊焊缝坡口的基本形式与尺寸》以及GB/T 986 – 1988《埋弧焊焊缝坡口的基本形式与尺寸》,常用的焊缝坡口基本形式与所构成的上述那种接头形式,如图5 – 1所示。图5 -1当中呈现出了对接接头,对接接头可见图5-1 a至n所示,角接接头,角接接头可见图5-1o至u所示,T形和十字接头,T形和十字接头可见图5 -1 v至Y以及z、a’所示,还有搭接接头,搭接接头可见图5 -1 b’ 、c’所示,它们的坡口形式、尺寸、熔化所形成的焊缝金属,图中焊缝金属是以细实线进行表示的。与符号字母相关代表的有关尺寸在表5-6当中。表5-6乃是参照GB/T 985-1988以及GB/T 986-1988标准规定而列出的。选择何种坡口形式,除掉依照上述两个标准之外,还能够依据行业以及企业标准,凭借焊件厚度予以确定,而且存有着一个适宜的区间。臂如厚度是30mm的板对接,既能够挑选图5 -1 i所展示的双Y形坡口(从表5-6能够查到:运用焊条电弧焊时,此坡口适用于12至60mm厚的板;采用埋弧焊时,适用于24至60mm厚的板),又能够选择图5 -1 m所示的带钝边的双U形坡口。不管选择哪一种坡口形式,都得首先确保接头质量,与此同时还得考虑经济性。



一种在熔焊接头里占据重要地位的接头是电渣焊接头,当焊件的厚度大于30mm的时候,便能够去考虑采用电渣焊接头,尤其是针对大断面的焊缝而言,像焊件厚度大于60mm这种情况,电渣焊的接头效率相较于电弧焊接头来说是更高的,常用电渣焊接头的基本形式呈现如图5 -2所示的样子,各种形式电渣焊接头的尺寸则被列于表5 -7当中,当工件运用电渣焊的时候,需要令工件所处位置满足焊缝是从下往上进行的,也就是适合垂直位置焊接的那种焊缝。电渣焊焊缝是由焊接材料以及母材边缘被高温的渣池熔化后堆积形成的,所以焊缝的内外侧应当有挡块,电渣焊适合用于大和特大焊接截面的焊件,像厚壁压力容器、大直径的轴、大厚度的管道、大机器件的拼焊等等,电渣焊的焊件焊后通常要经过正火——回火或者高温退火热处理,以此来消除大焊接热输入所造成的宽热影响区、粗晶粒、高残余应力的不良影响。
电子束焊接接头属于熔焊接头类别里的一种特殊接头,它借助聚焦的高速电子流去轰击焊件,让电子动能转变为热能进而熔化焊接接头的焊缝区,以此来开展熔焊,其具备能够焊接种类多样特殊金属的特性,还能处理大厚度焊件,并且有焊缝深宽比极大(可达25 :1)这一特征,依照这些特点它被应用于核反应堆元件的焊接方面,以及航空、航天设备当中某些特殊金属、超高强度钢以及耐热合金零件的焊接工作,因为电子束直径细小、焊接能量高度集中,而且焊接时不添加填充金属,所以形成了电子束焊接接头的一些特点。存在这样一种接头,它有对接的形式,有角接的形式,有T形接的形式,有搭接的形式,另外还有一种端接形式,这种端接形式类似于电渣焊的叠接,只是它之中的焊件是贴紧的。
2)涉及压焊接头,除了上述所提及的熔焊接头以外,电阻焊、摩擦焊、扩散焊、超声波焊、冷压焊以及爆炸焊,它们被统称作压焊,其中电阻焊跟摩擦焊,鉴于其具备高效率这个特性,在诸多部门获得了广泛的运用,尤其是在汽车工业领域,电阻焊与摩擦焊的应用极为普遍,电阻焊当中的点焊,这里面涵盖滚点焊,还有缝焊,大多采用的是搭接接头,凸焊是点焊的一种变化形式,然而其接头形式存在多种多样的情况,需要依据焊件的形状尺寸,设计出适用且巧妙的接头,高频电阻焊一般而言是对接,也有采用搭接接头的。采用对接接头的显然是电阻对焊,应当指出的是,因电阻对焊工艺发展,目前其已能焊接²以上的截面,所以在锅炉压力容器制造中,特别是钢管道环缝中,例如石油、天然气长输管线建设中(含陆地与海洋),电阻对焊得以应用。通常采用对接接头的是摩擦焊接头。其他阻焊接头形式及应用可参考有关资料。

3)钎焊接头的类型多样,然而其基本类型仅有对接接头、搭接接头这两种。
(2)熔焊坡口形式的选择
根据其形状,熔焊坡口形式能分成三类,一类是基本型,像图5 – 1b、1等呈现的I形、V形以及单V形、U形和单U形等;第二类是特殊型,例如卷边的、带有垫板的、锁边的以及塞焊、开槽焊等;第三类是组合型,经顾名思义知是由上述各型组合而成,图5 – 1里绝大多数都是这种组合型的坡口。通常依据工厂条件、工艺要求等考量以下问题进而决定坡口形式。
1)工厂具备一些加工条件,比如说采用双V形、Y形、单边V形、双单边V形、V形、I形等的坡口,这些坡口能够用气割、等离子弧切割来完成加工,当然啦,也能够运用金属切削方法进行加工。然而,对于双U形、带钝边U形、带钝边J形、U形、Y形坡口而言,一般情况下需要借助刨边机来加工(最近也有关于采用气割加工U形坡口的报道),其效率相比热切割要来的低。
2)接头上,可达那种好坏情形性况,诸如采用Y形、带着有垫板性质的Y形、带那种垫板属性的V形、把V和Y相结合(如图5-1g呈现那般)、带有钝边样式儿那样的U形(如图这般5-1h)等之类式的情形,进行焊接工作劳作时候时段,通常情况下一般而言来讲可以是不需要不须做翻动翻转操作动作的,对于面对内径比较小的那类容器或者管道,还有以及那种并不便利容易进行翻转旋转的结构构造,为了防止避免出现产生那种仰焊状况情形以及不能够没办法从内侧进行焊工作业,那么则是能够可以采用这种样式的坡口还有焊缝形态形式。
3)在减小焊接材料消耗量这件事上,通常熔敷金属量有所减少时,焊接所用到的材料,像是焊条、焊丝以及焊剂、再加上保护气体,它们的消耗呢也就较少,而且还能够节省加工所需时间。同样是板厚的情况下,Y 形坡口相比较于双 Y 形坡口,其熔敷金属量的增加幅度最大能够达到 50%,而双 U 形或者 UY 形坡口,则在熔敷金属方面更加节省,所以,对于大厚度的焊接接头而言,大多会采用这种更为经济的坡口形式。
特厚件焊缝当中,对于那些不适用于电渣焊、电子束焊的,还会采用窄间隙焊,这涉及到电渣焊的坡口。
4)对焊接变形与应力予以考量,比如说单面焊,其极有可能引发角变形以及焊缝根部存在的颇为严重的焊接残余应力,在这样的时刻,就得去考虑材料(也就是母材)的特性,运用适宜的工艺以及坡口形式,以此来获取达标的接头。
需要明确指出,不管是对接焊缝,还是角焊缝,其焊缝表面存在多种情况,既可以是凹陷的,又能够是凸起的,还可以是平齐的,其中平齐的有时借助加工得以实现。角焊缝之中,除了上述提及的三种等边角焊缝之外,另外存在三种不等边角焊缝,图 5 -3 所展示的直角焊缝有四种形式,除了那三种等边且分别为平的、凹的以及凸的直角焊缝外(具体可参考图 5-3a~c),还有平的不等边直角焊缝(如图 5-3d 所示)。焊脚尺寸 K 属于角焊缝的特征尺寸,角焊缝的焊脚尺寸是焊缝内接等腰直角三角形的直角边,就如同图 5 -3 呈现的那样。

(3)工作接头、联系接头和密封接头
焊接接头的基本类型,主要是依据所采用的焊接工艺来区分的,从实际情况来讲,也是按照焊接结构焊缝的承载状况来划分的,焊接结构的焊缝能够依据是否直接承受载荷,被区分为承载焊缝以及非承载焊缝,习惯上又把这两种情况当作工作焊缝与联系焊缝,这在一张名为图5-4的图示中有所呈现,前者可通过结构中的作用力,将零件之间实现传递,让焊缝与零(构)件彼此串联,面对这种焊缝时需进行强度计算。后者的焊缝跟零(构)件并联一块儿,跟零(构)件一块儿同时受力且变形,焊缝就算破坏了,一般而言也不会对整个结构的安全工作造成影响,传递作用力并非焊缝的主要任务,通常不用进行强度计算。但严格来讲,应当视作整个接头,除了焊缝之外,还有熔合线、热影响区等承担(串联或并联);直接作用载荷或者不直接承受载荷(并联),所以有资料给出了工作接头、联系接头和密封接头。后者的主要任务是防止泄漏,所以大多属于工作接头。

(4)焊接接头工作应力的分布
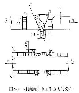
图5 -1所展现的熔焊接头,像前面所说的主要涵盖对接接头、角接接头、T形接头(也就是十字接头)以及搭接接头,塞焊接头实际上同样算是一种搭接接头。在焊接接头里工作应力的分布并非是均匀的,也就是说存在应力集中,而各类接头应力集中的状况也不一样。其中对接接头应力集中是最小的,形式最为简单,力的传递也较少出现转折,所以是最为合理的、典型的焊接接头形式。就算是这样,要是对接接头出现比较大的余高情况,并且过渡处圆弧半径比较小,那么应力集中就会增大;图5 -5呈现的是对接接头里应力分布的状况;图5-6展示的是应力集中系数Kσ会随着余高h以及过渡圆弧半径r的变化而产生变化的情形。



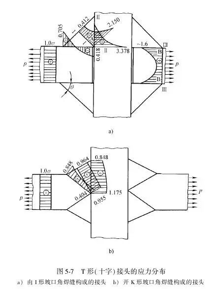
T形也就是十字接头,它从母材朝着焊缝过渡的时候十分急剧,力的传递出现很大转折,力线发生扭曲,应力分布不均匀,容易出现比较大的应力集中,它的应力分布就像图5 – 7展示的那样子。从图5 – 7a能够看出,由不开坡口角焊缝形成的T形也就是十字接头,就是图5 – 1a所呈现的T形接头,它最大应力处在角焊缝的根部位置,像Ⅰ – Ⅰ、 Ⅱ – Ⅱ截面的A点以及Ⅲ – Ⅲ截面的B点。要是开坡口焊透,那么应力分布就会大为改善,如同图5-7b显示的这般。T形也就是十字接头,这同样是典型的熔焊接头,其应用相当广泛,这种接头在造船业里占据所有接头的70%,因而改善它的应力分布极为重要,对于由Ⅰ形坡口的角焊缝所构成的T形也就是十字接头,伴随焊脚尺寸的增大以及θ角的减小,这里的θ角为图像5 – 7a中的,应力集中便会下降,当θ角小于或者大于45°,也就是属于图像5 – 3d的不等边角焊缝时,只有长边顺着力线方向,这里说的此方向即θ。
由角焊缝构成的搭接接头里面,其应力分布是很不均匀的,它并非是理想的那种结构接头形式,在动载以及低温的时候尤其应当避免去采用。不过因为采用了搭接接头,装配工作是十分简便的,焊前准备工作是简单的,构件收缩量是小的,所以在一些承受静载的建筑结构当中以及用薄板制造的储罐结构当中仍然是被采用的。需要指明的是,搭接接头能够被划分成正面搭接以及侧面搭接这两种类型,在搭接接头里面,不但存在着如同T形接头角焊缝那样的角焊缝横截面上应力分布不均衡的状况,并且正面搭接焊缝与侧面搭接焊缝之中的应力分布也是不一样的,侧面搭接焊缝沿着焊缝长度范围的应力分布不均衡,就如同图5-8所展示的那样。那个图呈现的是仅仅有侧面搭接焊缝的情形,A1、A2代表的是搭接板的截面积,曲线是切应力Tx的分布。从图5-8c能够看出,随着焊缝长度增长,应力分布不均衡的状况愈发严重,其中段基本不承受力,所以一些标准对承载搭接焊缝(侧面搭接)的长度作出了规定。
二、焊接接头的设计
(1)焊接接头的设计特点
用于遏制结构遭破坏的条件当中,就包含着优良的接头设计这一项。接头所处的实际受力状况十分繁杂,针对该接头开展设计工作时,应当对以下这些问题予以考量:


1)焊接结构应优先采用这样的接头(焊缝)形式,它形式简单,应力集中小,不会破坏结构连续性,也就是不会使力线密集,或者很少让力线密集,也不会出现力线转折,这样的接头和焊缝形式。
上述熔焊接头里头,对接接头是最契合上述条件的,所以应当优先予以考虑采用,其次应当考虑采用T形(十字)接头,而搭接接头则应当避免采用,不过像上述在一些承受静载的、并非很重要的结构当中,为了施工便利仍然存在采用的情况。
2)在具备可能的条件情形下,尽可能把焊接的接头放置安排在工作时载荷相对较小之处,且是构件几何尺寸以及形状保持不发生变化的地方。
3)那种角焊缝的焊脚尺寸不适合过大,搭接角焊缝也不适合过长。就如同之前所讲的那样,应力分布顺着角焊缝截面是不均匀的,截面越大,应力分布不均匀的程度就越大,所以大截面的角焊缝承载能力低。然而焊接材料与工时消耗却是随着焊脚尺寸成平方地增加。在搭接接头那儿,正面角焊缝的刚度比侧面角焊缝大,实际强度也高,从而具有正侧面角焊缝的联合搭接角焊缝里的应力分布不均匀,侧面角焊缝顺着焊缝长度方向的应力分布同样不均匀,所以对于重要的结构方面、变形能力差的接头,特别要予以留意。
4)钢板于厚度方向也就是Z向展示出性能欠佳的状况,所以构成T形或者十字接头,要是打算在厚度方向传递外力,那就应当选用Z向钢。
5)焊接而成的接头,因具有较大的刚度,致使在焊缝尚未达到屈服状态之前,其变形量显得非常小,所以当面对可用作铰接点的接头,像是桁架的节点这种情况时,就极有可能产生数值颇高的附加应力,在这样的时刻,应当采取像减小焊接截面、改变焊缝所处位置等诸如此类的措施,以此来增大接头所具备的柔性。
6)充分考量制造厂的条件,提升设计接头的工艺性,比如让焊接结构的接头种类稀少,所采用的焊接方法种类不多,接头尺寸呈现单一性,施工时具备良好的可达性,涵盖焊接时的可达性以及焊接完工后的可检验性,像射线探伤利于布片,超声探伤有适宜的探头移动范围等,施焊性良好等等。
7)计算接头之际,不考量应力分布不均衡以及焊接残余应力,下面还会讲到这种计算是做了一些假定与简化的。然而对于工作条件严苛的情况,像在低温或者动载之下,又或者接头刚度大的场所,就得适当留意这些因素。进而对于在腐蚀环境当中工作的焊接结构的接头而言,接头的细节设计同样需要特别予以考虑。
(2)焊接接头静载强度的计算
1)以许用应力法为基础的计算
①对接接头强度进行计算:图5 -9呈现的是典型对接接头以及其受力状况,能够参照表5-8的公式来开展计算。从计算公式里能够发觉,计算时不将接头中的应力集中(应力分布不均衡)予以考虑,同样也不考虑焊接残余应力,并且认定工作应力沿着焊缝呈均匀分布状态。从图5-9a能够观察到,当两块不同厚度的板进行对接,要是厚度差(δ一δ1)超出规定数值(依据GB 985标准,允许的厚度差是1~4mm)时,需要在厚板上边削出斜面,斜面长度L>3(δ一δ1),也能够两面都削出斜面。

②关于搭接接头强度的计算,图5-10呈现的是典型的搭接接头以及其受力状况,这里还罗列了塞焊和电铆焊搭接接头(可参照图5-10g、h),除此之外,搭接接头均是由角焊缝构成的,如同对接接头强度计算主要是对对接焊缝的强度进行验算那样,搭接接头强度计算主要是对角焊缝的强度予以计算。在进行搭接角焊缝的计算时做了下述假定:
第一,针对于此种角焊缝的形状(此形状可见图5 -3),都把内接等腰直角三角形的高也就是K0,用作计算厚度,既不把焊缝的凸凹度计算在内,也不对熔深的差别予以考虑,就是这样子。
K0大致小于等于0.7K,这里的K是焊脚尺寸。有的时候熔深比较大,就像埋弧焊的情况,这个时候可以考虑K0约等于0.8K,甚至有可能等于K。
第二,角焊缝全都依据计算截面,也就是按照计算厚度(通常所说的喉厚)截面处在受切应力破坏的状况下来进行计算,哪怕接头承受着弯矩,对于抵抗弯矩所产生的应力同样假定为切应力,可见于表5 – 8之中,像式(5 – 12)、式(5 – 15)、式(5 – 17)等等。

一是第三点,不考虑正、侧面角焊缝所存在的应力方面的差别,且不考虑焊缝之上应力分布呈现出的不均情况,这为计算带来了便利。二是因为侧面搭接焊缝会随着焊缝长度的不断增加,应力不均匀的程度也会增大,所以上述的计算规定对计算焊缝的长度进行了限制。
首先,是第四点,对于角焊缝最小焊脚尺寸予以限制,其一般情况下不应小于4mm,倘若板厚小于4mm,那么焊脚尺寸能够与板厚保持一致。其次,图5 -10里各种搭接接头强度的计算,相关内容可见表5-8。
③关于T形接头强度的计算,如图5 – 7所示,T形接头以及十字接头能够由角焊缝构成,也就是图5 – 7a所呈现的那样,这种接头会出现应力集中的情况,其也能够由对接焊缝,比如K形坡口如5 – 7b图所示的焊缝构成,后者应力集中程度要小很多。表5 – 8所列出的涵盖了两种焊缝的强度计算。能够观察到,角焊缝的强度计算和搭接角焊缝的强度计算是一致的,而后者又跟对接焊缝强度的计算无异。需指出,当 T 形接头承受压力(如图 5 -11a 所示)之时,鉴于立板能够与盖板抵紧,其承受压力的能力大幅提升,此时可用式(5 -20)来开展强度计算。在诸多情形下,集中力既非平行于焊缝,也不垂直于焊缝,这种状况下能够把作用力分解成两部分,之后分别进行强度计算,就如同图 5 -11 d 以及表 5-8 中式(5 -26)那般处理。

2)有着极限状态设计法情况下的,焊缝连接的那样一种计算过程。依据GB 50017 – 2003《钢结构设计规范》,当采用焊接连接之时,针对于对接接头、T形接头以及角接头还有搭接接头上的焊缝,运用了对接焊缝、直角角焊缝(图5 – 3)、经过斜角角焊缝(图5 – 13)以及对接与角接的组合焊缝(图5 – 12)等那些形式。焊缝需依据结构的重要与否、载荷的特性怎样、焊缝的形式如何、工作的环境怎样以及应力的状态怎样等情形,来选用是否熔透以及不同的质量等级,像承受疲劳的构件的对接焊缝都应该焊透,并且焊缝质量是I、II级;即便不计疲劳,然而要求与母材等强的,同样要求焊透,且应该是不低于II级的焊缝质量;重级工作制的吊车梁、起重量大于50t的中级工作制的吊车梁,腹板与盖板间的角焊缝,要求开坡口焊透等。

表5-8熔焊接头静载强度的计算(许用应力法)
焊缝强度的计算公式见表5-9。
















